

Airport OSL Play Iconic The Tower International
Format
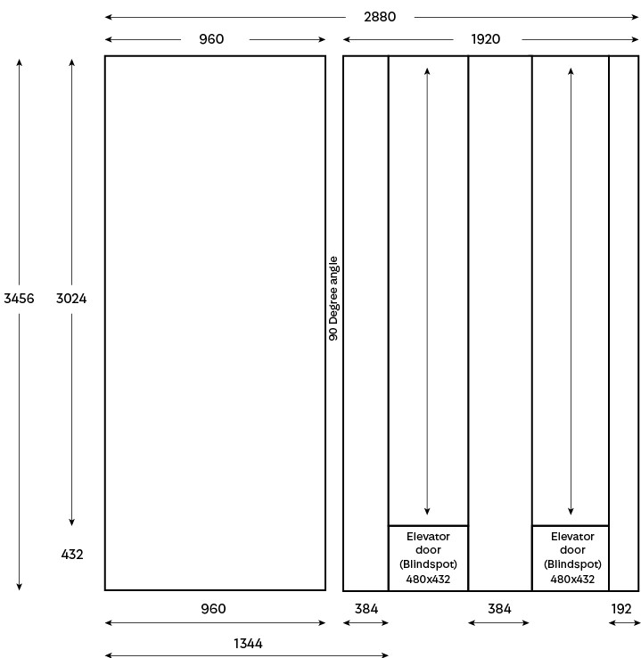
2880x3456
Visible area
960x3456
384x3456
480x3024 (elevator door at the bottom)
384x3456
480x3024 (elevator door at the bottom)
192x3456
Ad length
Your material can be delivered in lengths of up to 30 seconds, with the following options: 5, 10, 15, 20, 25, or 30 seconds.
If you choose to use a longer version, it will result in fewer plays, but the same total display time.
Settings
MP4 or MOV. Use H264 codec for MP4. Do not exceed 20000 KB/S
JPG or PNG. 72 DPI
Material deadline
Minimum 3 working days before campaign start.
Upload files via the link below.
%20kopi.jpg)

Important information
Delivery notes
Please name the high-resolution PDF with: Order Number_Customer Name_Campaign Week_Format.
Example:
- 72445_AmericanExpress_W39_OSLPlayIconicTheTowerInternational
Need help?
Please contact campaignmanagement-no@bauermediaoutdoor.com if you need help or have any questions regarding the delivery specifications.